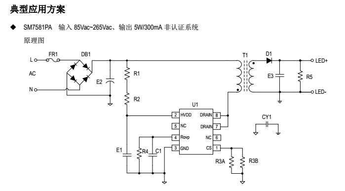
电源管理芯片SM7581PA 是一款高精度原边反馈的 LED 恒流驱动芯片,适用于
85Vac~265Vac 全范围输入电压的隔离型 LED 恒流驱动电源。电源管理芯片SM7581PA工作于电感电流断续导通模式,采用专利的检测与恒流控制技术
,无需辅助绕组检测,只需要很少的外围器件,即可实现优异的恒流性能。同时
芯片工作电流极低,无需辅助绕组供电,极大地节约了系统体积和成本。
SM7581PA 输出电流不随电感量和 LED 工作电压的变化而变化,从而实现了优异
的负载调整率。同时芯片具有多重保护功能,包括 LED 开/短路保护,HVDD 欠
压保护,芯片过温调节功能等。


电源管理芯片SM7581PA产品主要的特点分析:
输入电压:85Vac~265Vac
恒流精度<±3%
电感电流断续导通模式
无需辅助绕组检测和供电
超低工作电流
输出开路保护功能
输出短路保护功能
HVDD 欠压保护功能
具有过温调节功能

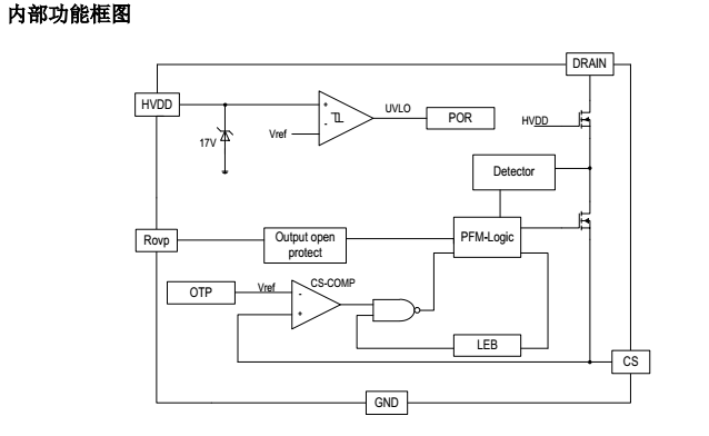
电源管理芯片SM7581PA启动与供电
系统上电后,线网电压通过启动电阻对 HVDD 电容充电,当 HVDD 电压达到芯片启动电压时,芯片内部控制电路开始工作。SM7581PA 内部设置 17V 稳压管,用于嵌位 HVDD 电压。芯片正常工作时,需要 HVDD 电流很低,无需辅助绕组供电,仅通过启动电阻供电就能够维持芯片自身耗电。
?恒流控制
芯片逐周期检测流过电感的电流峰值,CS 端连接到内部峰值限制电流的输入端,与内部 610mV 的阈值电压进行比较,当 CS 电压达到内部设定的检测阈值时,功率管关断。封装形式:SOP8
电源管理芯片SM7581PA过压保护电阻设置
开路保护电压可以通过ROVP 引脚电阻来设置,ROVP 引脚输出电流固定为 20uA。
当 LED 开路时,输出电压逐渐上升,消磁时间逐渐变短。因此可以根据需要设定的开路保护电压,来计算消磁时间 TD。

电源管理芯片SM7581PA 设置了系统的最大消磁时间,当 ROVP 端口外接电阻时,可以设定过压保护时的消磁检测时间。如果电感量很大时,工作消磁时间又可能大于芯片固有的最大消磁时间,系统就会进入电感电流连续导通模式,输出电流会背离设计值。
前沿消隐(LEB)
功率 MOSFET 每开启一次,电流检测电阻上就不可避免的产生一个尖峰电压。为了避免此尖峰信号使控制器误动作,芯片内置了 380ns 的前沿消隐时间,在这段前沿消隐的时间内,GATE 输出驱动也就不会关断。
保护功能
SM7581PA 内置多种保护功能,包括 LED 开/短路保护,HVDD 欠压保护,芯片温度过温调节等。当 LED 短路时, 系统消磁时间为最大的消磁时间(330uS),由此系统工作在很低的频率,输入功耗很小;当输出 LED 开路时,系统触发过压保护功能并停止开关动作,HVDD 电压开始下降,当 HVDD 电压达到欠压保护阈值时,系统将重新启动。同时系统不断检测负载状态,如果故障排除,系统将重新开始正常工作。
过温调节功能
SM7581PA 具有芯片过温调节功能,在芯片过温时,逐渐减小输出电流,从而控制输出功率和温升,提高系统的可靠性;芯片内部设定的过温调节温度点为 140°C。
hth网页版在线登录电子高压线性恒流芯片行业专家,高压测光源灯条高压线性方案,高压漫反射灯条方案,高压洗墙灯方案,LED电源芯片12年专注研发电子芯片产品---//m.cybp2p.com
Copyright © 2017-2021 hth官方网站 版权所有
QQ:41290014 电话:86 0755 2759 3052 E-mail:sale@linkage.cn